苹果或采用蓝宝石作为新iPhone屏幕玻璃
时间:2022-06-25 20:02
小编:君辉拓展

虽然像大猩猩玻璃这样的硅铝酸盐玻璃性能很好,某些高级蓝宝石层板更适合日常生活中的磨损。苹果指出蓝宝石的导热性与某些金属相似,所以这种材料还可以用来生产散热片。通过将蓝宝石结构连接至处理器,可以有效的将热量疏导出来。

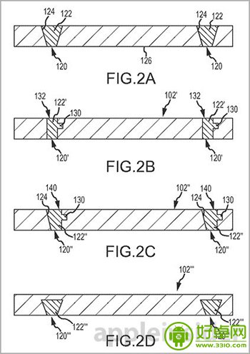
对于专利中描述的附着技术,有例子提到使用蓝宝石玻璃材质制作孔洞。然后使用第二种低熔点的材料,比如金属或塑料加热后倒入 。在某些情况下,孔洞可以是锥形结构的。冷却和坚硬后,金属部门可以被用来制作附着点,这样其他材料可以通过焊接和其他技术机械联接。

第二个例子详细描述了一种模塑技术,可以被用来将第二种材料连接至蓝宝石材料。当把蓝宝石屏幕或零件插入电子设备结构时,需要各种方法让蓝宝石和设备固定在一起。设备支持结构可以附着在蓝宝石零件窄小的锥形边缘上。专利的其余部门详细描述了孔洞制作工艺。

苹果蓝宝石组件目前没有更多的消息透露出来,不过估计苹果公司现在一定正在大举的研发,如果在一代的iPhone上能够看到蓝宝石屏幕,那么相信是很多果粉所期望的。
